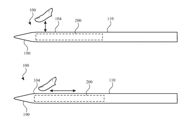
专利显示苹果想让 Apple Pencil 支持更多手势操作
据
AppleInsider
报导,苹果最新注册的一项与 Apple Pencil 有关的专利显现,未来 Apple Pencil 或许装备愈加精密的触敏空间,辨认更多手势操作。这项专利能够让 Apple Pencil 辨认用户手指滑动等更多杂乱的手势。

此前的一份专利文件显现,苹果未来或许会让 Apple Pencil 协助创作者更轻松的
选取色彩
。Apple Pencil 的笔尖和本体之间多出一个能够指示色彩的 “柔性 OLED 显现屏”,用户在设备上选取色彩时,笔尖区域便会显现对应的色彩来提示用户。在这之前还有风闻称,Apple Pencil 将供给轰动反应,使绘画、书写体会更挨近纸张。因为 Apple Pencil 笔尖原料的联系,现在运用 Apple Pencil 直接在 iPad 的玻璃屏幕上书写也具有必定的阻力,但仍然有用户不惜牺牲笔尖寿数选用“类纸膜”等方法模拟在实在纸张上的书写体会。
第一代 Apple Pencil
诞生于 2015 年,没有触控快捷键,也不支持无线充电,发布于 2018 年的第二代 Apple Pencil
除了供给上述两项功用,不论是在外观仍是握持体会上也有大幅改善。
题图: Mukul Joshi/Unsplash